Um zu verhindern, dass Ihre Türen zuschlagen, können Sie einen Türstopper verwenden.
Dieser Türstopper aus Edelstahl hat die Funktion, die Tür die letzten 10° zu fangen und dann geräuschlos zu schließen. Die Schließgeschwindigkeit dieses Artikels ist einstellbar, so dass ein plötzliches Schließen oder Aufblasen nicht mehr möglich ist.
Dieser Türstopper ist eine ideale Lösung für Orte, an denen Ruhe benötigt wird, aber auch für Räume, in denen es auf die Temperatur ankommt, wie z. B. in Kühlhäusern usw.
Der Edelstahl-Türverschluss, den Sie oben auf Ihre Holz-Innentür montieren, wird pro Stück geliefert, ohne Haken und Befestigungsmaterial. Unten können Sie unter verwandten Produkten den gewünschten Haken auswählen. Sie können einen kurzen oder langen Haken wählen.
| Material | rostfreier Stahl |
| Farbe | rostfreier Stahl |
| Zubehör | Verschlusshaken nicht enthalten |
| Anwendung | für Innentüren aus Holz |
| Schließgeschwindigkeit | Einstellbar |
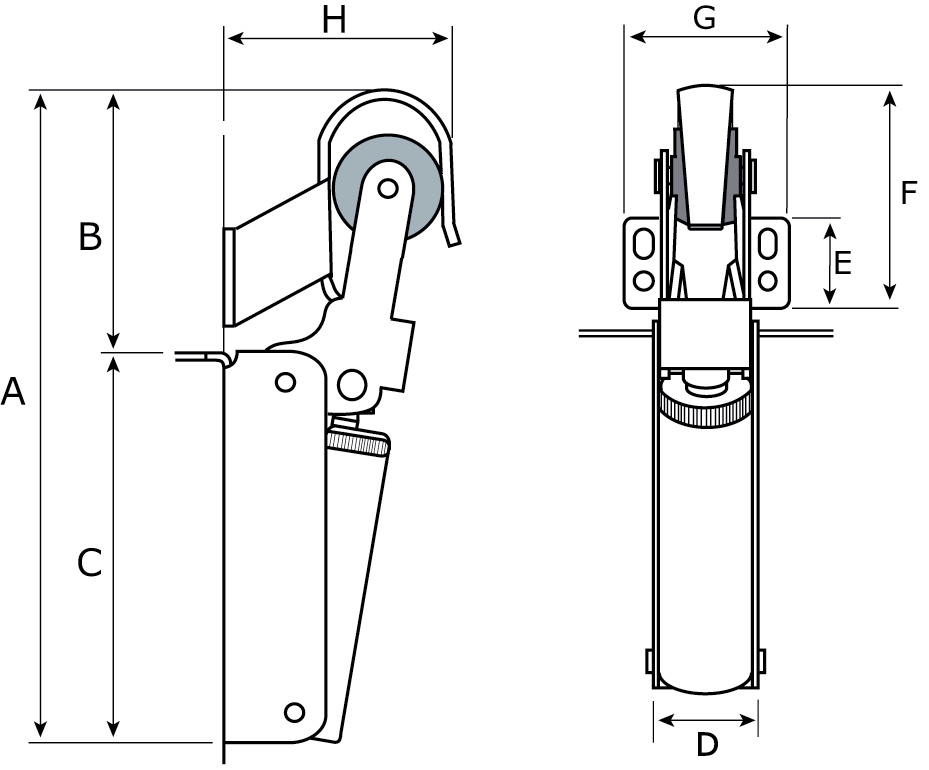
A (mm) |
183.5 |
B (mm) |
75 |
C (mm) |
108.5 |
D (mm) |
32 |
E (mm) |
27 |
F (mm) |
66.5 |
G en H (mm) |
49 und 64 |
| Schwere | 1 |
| Maximale Türbreite (mm) | 850 |
| Maximales Türgewicht | 40 |
Montageanleitung enthalten








