Beschreibung
Tag- und Nachtschloss aus Edelstahl für PC-Zylinder 55 mm. Dorn 50mm inkl. Schließblech
Artikelnummer: 0094.954229
Diese Gehäuseschlösser aus Edelstahl sind aufgrund ihrer Abmessungen besonders beliebt bei unseren niederländischen Kunden.
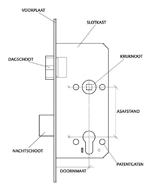
Die Tag- und Nachtschlösser aus Edelstahl haben eine Zylinderöffnung und werden daher normalerweise für eine Vorder- oder Hintertür verwendet. Die Frontplatte ist abgerundet und aus Edelstahl.
Diese Zylinderschlösser haben folgende Eigenschaften:
- Achsmaß: 55 mm
- Dorn: 50mm
- Frontplatte: Abgerundet 20x175mm
- Inklusive Schließblech und Schrauben
- Patentlöcher: ja
- Reversibel: ja (siehe roter Pfeil auf Zeichnung)



