Beschreibung
Stahl schwarz lackiertes Einbohrband 14 mm für Metallmontage Hörmann Zargen mit Nylonring
Artikelnummer: DS6001.482.5443
Einbauscharniere dienen zum Aufhängen von gefälzten Türen. Eine gefälzte Tür fällt auf die Zarge, während eine stumpfe Tür in die Zarge fällt (siehe Bilder).
Dieses Modell eignet sich zum Einhängen von gefälzten Türen in Hörmann Stahl-Mauerwerkszargen oder zum Austausch vorhandener Bänder.
Die Bänder können sowohl an linken als auch an rechten Falztüren verwendet werden, die im Innenbereich eingesetzt werden.
Dieses Scharnier ist mit einem schwarzen Nylonring ausgestattet, der einen langlebigen und leisen Betrieb gewährleistet. Außerdem ist die Paumelle wartungsfrei.
Dieses Scharnier wird pro Stück ohne Befestigungsmaterial geliefert.
| Material | Stahl |
| Beenden | Schwarz lackiert |
| Klingeltyp | Nylon |
| Rahmentyp | Mauerwerksrahmen aus Stahl H |
| Anwendung | für gefälzte Türen |
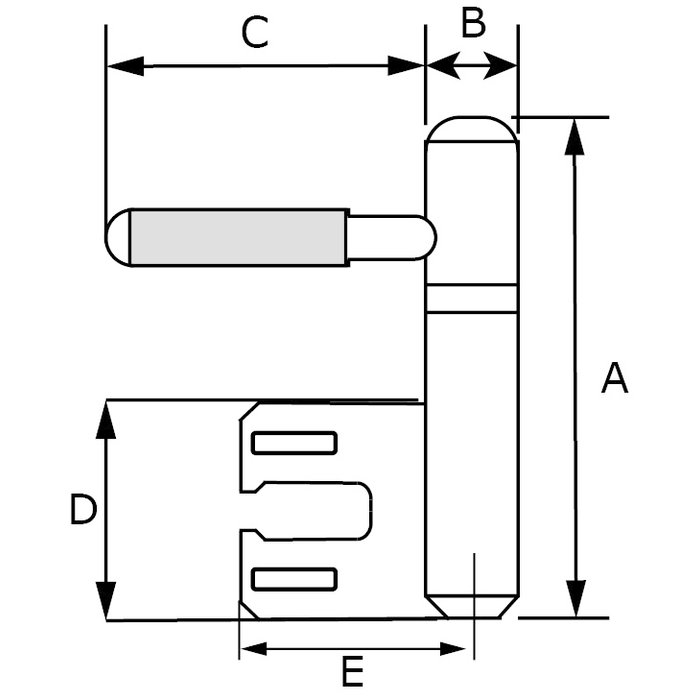
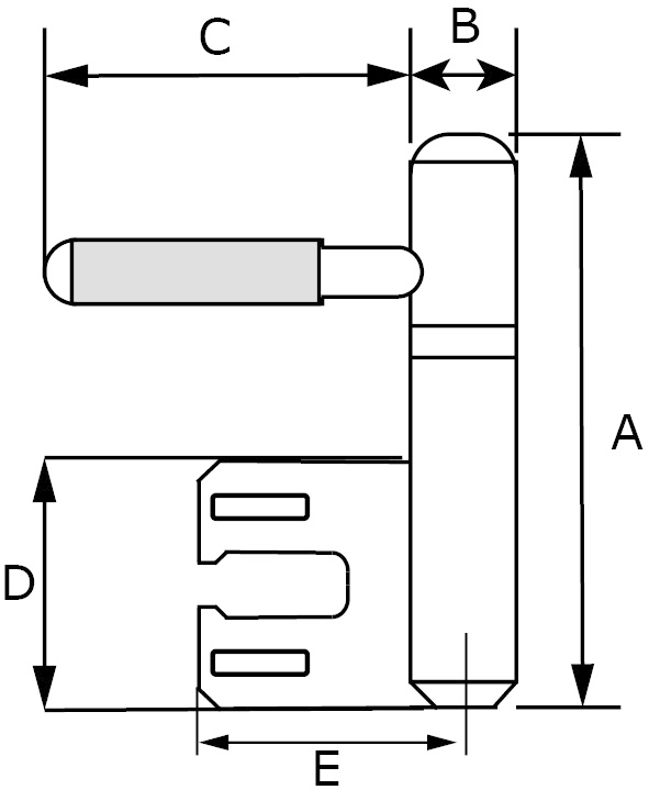
A (mm) |
75 |
B (mm) |
14 |
C (mm) |
50 |
D (mm) |
34 |
E (mm) |
33 |
| Tragfähigkeit pro Stück | 20 kg |









