Les charnières françaises ou hamburger conviennent à plusieurs portes en bois à l'intérieur. Prenons par exemple la porte d’un placard en bois d’un meuble classique.
Le montage de cette charnière est aisé car les deux parties peuvent être fixées séparément. Un avantage majeur de cette charnière est que la porte est facile à soulever et à sortir du cadre.
Dans le menu déroulant en haut à droite, choisissez une charnière DIN gauche (droite belge) ou une charnière DIN droite (gauche belge)
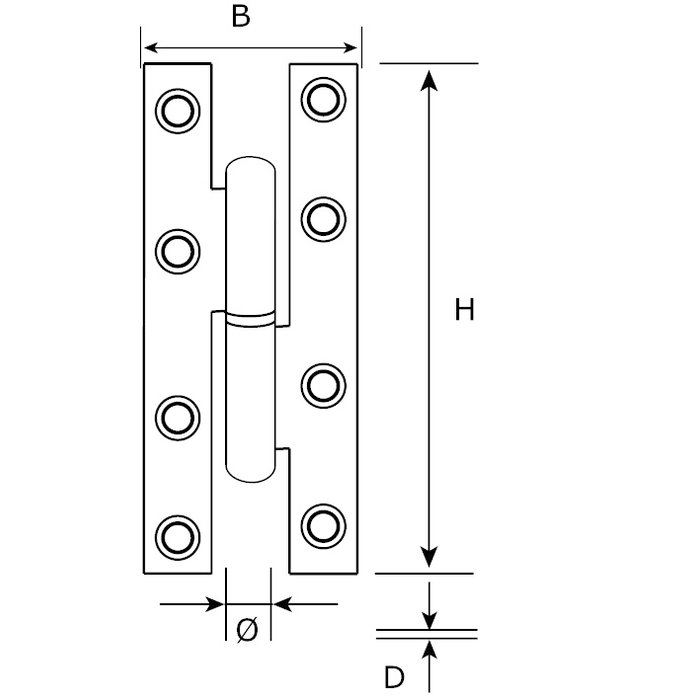
Regardez attentivement le dessin ci-joint pour vous assurer que vous commandez la bonne charnière car celles-ci ne sont pas réversibles.
Cette charnière est fournie par pièce hors matériel de montage .
PS : l'image est d'une charnière DIN gauche - charnière droite belge
| Matériel | Acier |
| Finition | Clair galvanisé |
| Coin de finition | Angles droits |
| Application | À des fins diverses |
H (mm) |
140 |
B (mm) |
70 |
D (mm) |
3.0 |
| Sens de rotation | voir le choix munu |
Ø (mm) |
14 |
| Matériel de fixation | Non inclus |







