Description
Steel black lacquered drill-in hinge 14 mm for metal mounting Hörmann frames with nylon ring
Article code: DS6001.482.5443
Built-in hinges are for hanging rebated doors. A rebated door falls on the frame, while a blunt door falls into the frame (see images).
This model is suitable for hanging rebated doors in Hörmann steel masonry frames or for replacing existing hinges.
The hinges can be used on rebated doors that open to the left or to the right that are used indoors.
This hinge is provided with a black nylon ring, which ensures a long-lasting and silent operation. Moreover, the Paumelle is maintenance-free.
This hinge is supplied per piece excluding mounting material .
| Material | Steel |
| Finish | Black lacquered |
| Ring type | Nylon |
| Type of frame | Steel masonry frames H |
| Application | for rebated doors |
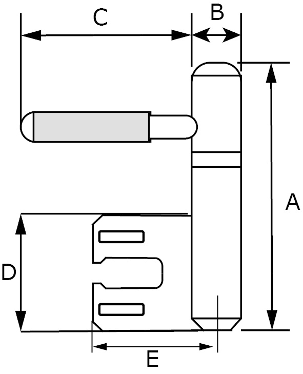
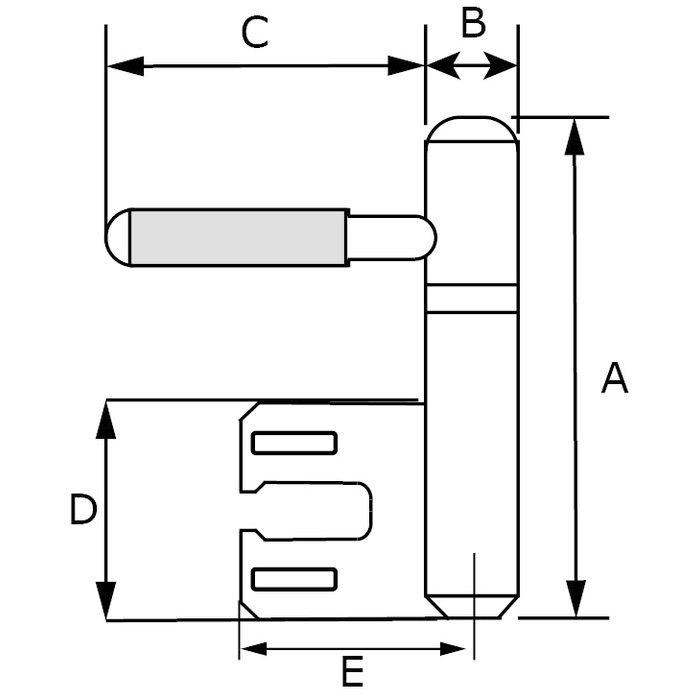
A (mm) |
75 |
B (mm) |
14 |
C (mm) |
50 |
D (mm) |
34 |
E (mm) |
33 |
| Carrying capacity per piece | 20 KG |









